Новости Software

Sony патентует ИИ, который пройдет любую игру вместо вас

Функции для повышения доступности в современных видеоиграх продолжают расширяться. Согласно патентной заявке, зарегистрированной японской корпорацией Sony Interactive Entertainment, в скором времени в списке опций может появиться возможность делегировать управление искусственному интеллекту.

 Источник изображения: PlayStation

Источник изображения: PlayStation

Как сообщило издание Video Games Chronicle, сама заявка на патент была подана Sony ещё в сентябре 2024 года, однако отчёт Всемирной организации интеллектуальной собственности (ВОИС) о её статусе стал доступен только на текущей неделе.

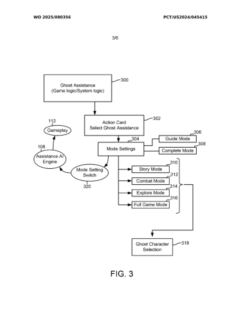
В документе описан помощник на основе ИИ — вызываемая игроком «теневая» копия персонажа, способная продемонстрировать, как преодолеть определённый отрезок уровня, или даже выполнить эту задачу вместо пользователя.

 Источник изображения: WIPO

Источник изображения: WIPO

К примеру, если игрок не может решить головоломку в Uncharted, то в режиме подсказок (Guide Mode) ИИ-версия Нейтана Дрейка просто покажет верное решение, а в альтернативном режиме завершения (Complete Mode) выполнит все действия самостоятельно.

Согласно описанию, модель искусственного интеллекта будет обучаться на видеозаписях геймплея с YouTube и Twitch, а также на данных из PlayStation Network. Предполагается, что обратиться за помощью к такому помощнику можно будет в любой момент игры.

Издание Video Games Chronicle обратило внимание, что искусственный интеллект от Sony выглядит как развитие текущей функции «Игровая помощь» на PS5, позволяющей пользователям получать подсказки, рекомендации или видео с геймплеем.

Также важно помнить, что оформление патента ещё не гарантирует его практического применения. Компания Sony за прошедшие годы зарегистрировала множество разнообразных концепций (к примеру, использование бытовых предметов вместо контроллера), которые до сих пор не были реализованы.

Поделиться:

0 Комментариев

Оставить комментарий

Обязательные поля помечены *
Ваш комментарий *
Категории
Популярные новости